
产品介绍
概述
法兰单口排气阀用于管路上的最高点或有闭气的地方,排除管内的气体来疏通管道,达到正常工作,如不装排气阀,管内流动的液体会产生动热引起气体.形成短路,使管道出水容易达不到要求。其次,管道运转转时出现停电、停泵管道就会出现负压力,而会引起管道振动或破裂,(排)吸气阀就迅速把空气吸入管肉,防止管道振动或破裂。
工作原理
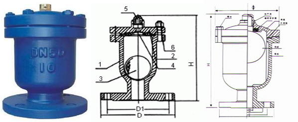
法兰单口排气阀主要由阀体、阀门、上盖、阀杆、浮球、排气嘴等组成。当需要排出管道内的气体时,管道内的空气在水的压强作用下进入体腔内,并从排气嘴排出,随之管道内的水充满体腔内,使浮球在水的浮力作用下,向上移动将排气嘴堵塞,达到自行密封,管道在正常行中,水中的空气在压强的作用下,不断排入排气阀的体腔上部,迫使浮球下降,离开原来密封位置,这时空气又从排气嘴排出,随之,浮球又恢复到原来位置自密封,因此,排气阀在正常工作中阀门始终是开着的,浮球不断重复上述动作,空气不断排出。当需要检修或清扫体腔时,应将阀门关闭。
外形结构图
零件材料
| 阀体 | 铸铁 |
| 阀盖 | 铸铁 |
| 浮球 | 不锈钢 |
| 塞头 | 橡胶 |
| 排气阀 | 黄铜 |
| 螺丝、螺帽 | 元钢 |
技术参数
| 公称通径DN(mm) | 15(1/2")~50(2") |
| 公称压力PN(Mpa) | 0.6~1.6 |
| 使用温度(℃) | 0~85 |
| 适用介质 | 清水 |
连接尺寸
| 法兰式 | DN | H | D | D1 | Z-фd |
| 15 | 245 | 195 | 160 | 4-18 | |
| 20 | 245 | 195 | 160 | 4-18 | |
| 25 | 245 | 195 | 160 | 4-18 | |
| 丝口式 | 15、20 | 245 | |||
| 25、32 | 245 | ||||
| 40、50 | 310 |

